今年の楡陵祭は終了しました。

連絡先

楡陵祭実行委員会
〒060-0817
北海道札幌市北区北17条西8丁目 北海道大学 高等教育推進機構 N305 学生集会室
Mail:nire☆hokudaisai.com
(☆を@に置き換えてください)

テントの建て方

※各支柱を持ち上げる際、手を挟まないように注意してください。
※配られるテントによっては建て方が異なる場合があります。ご了承ください。

Ⅰ.4支柱テントの建て方

  1. 鉄骨は全部で5種類(場合によっては6種類)。
    揃っているか確認します。
     ➀角柱4本
     ※角柱は上部と下部で2つに分かれている場合があります。
     ➁梁(短い)2本
     ➂梁(短い)2本
     ➃合掌4本(屋根パーツ)
     ➄棟1本(屋根パーツ)

    tent01
  2. 鉄骨を設置します。
     図のように鉄骨を組みます。まず、梁4本(➁・➂)を用いて、長方形を組みます。
     次に、角柱(➀)を四隅に設置します。

    tent02
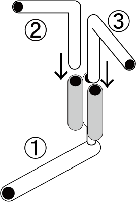
  3. 鉄骨を組みます。
     角柱(➀)にある3つの穴のうち、左右にある穴に梁(➁・➂)を差し込み、土台を組みます。
     先に合掌(➃)を棟(➄)に差し込んで屋根部分を組み、角柱(➀)の一番外側の穴に合掌(➃)を差し込みます。

    tent03
    tent04
    tent05
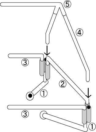
  4. 筋交いを付けます。

    tent11
  5. 天幕を掛けます。

  6. 各支柱を持ち上げて、テントを建てます。

Ⅱ.6支柱テントの建て方

  1. 鉄骨は全部で5種類(場合によっては6種類)。
    揃っているか確認します。
     ➀角柱4本(柱上部の穴が3つ空いている)
     ➁中柱2本(柱上部の穴が4つ空いている)
     ※角柱・中柱は上部と下部で2つに分かれている場合があります。
     ➂梁(長)3本
     ➃梁(短)4本
     ➄合掌6本(屋根パーツ)
     ➅棟1本(屋根パーツ)
     ※棟は3つ折りになっているものや、2つ折り2本を結合するものがあります。

    tent06
  2. 鉄骨を配置します。
     図のように鉄骨を組みます。
     まず、梁6本(➂・➃)を用いて、長方形を組みます。
     次に、角柱(➀)を四隅に、中柱(➁)を中央に配置します。

    tent07
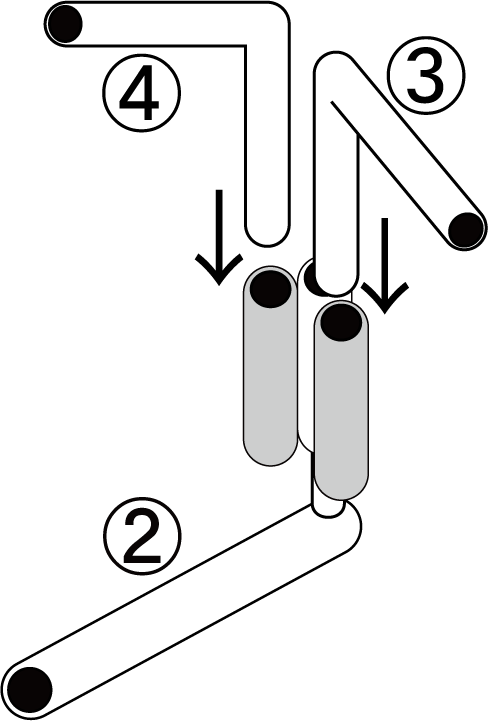
  3. 鉄骨を組みます。
     柱(➀・➁)にある3つもしくは4つある穴のうち、左右にある穴に梁(➂・➃)を差し込み、土台を組みます。
     先に合掌(➄)を棟(➅)に差し込んで屋根部分を組み、柱(➀・➁)の一番外側の穴に合掌(➄)を差し込みます。

    tent08
    tent09
    tent10
  4. 筋交いを付けます。

    tent11
  5. 天幕を掛けます。

  6. 各支柱を持ち上げて、テントを建てます。

先頭に戻る